Абзетцер

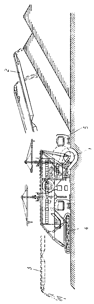
А'бзетцер (нем. Absetzer, от absetzen — отодвигать), многочерпаковый экскаватор для выемки и перемещения пустых пород на отвалах карьеров. А. бывают черпаковые (разгрузочный механизм — горизонтальная черпаковая рама) и черпаковоленточные (рис.). А. применяются для перемещения нескальных пород в районах с мягким климатом. Широко распространены на буроугольных карьерах ГДР и ФРГ. В СССР используются ограниченно и работают сезонно (как правило, при температуре воздуха не ниже — 5°С). См. Экскаватор.

  Лит.: Ржевский В. В., Технология, механизация и автоматизация процессов открытых горных разработок, М., 1966.

Схема черпаково-ленточного абзетцера с длиной консоли отвалообразователя 100 м и суточной производительностью 100000 м3 грунта: 1 — заборное (экскавационное) устройство; 2 — консольный ленточный отвалообразователь; 3 — положение отвальной консоли при нижней отсыпке отвала; 4 — черпаковая рама для планировки отвала; 5 — железнодорожный состав с пустой породой (вскрышей).

Более 800 000 книг и аудиокниг! 📚

Получи 2 месяца Литрес Подписки в подарок и наслаждайся неограниченным чтением

ПОЛУЧИТЬ ПОДАРОК