Проекционное телевидение

Проекцио'нное телеви'дение , получение телевизионных изображений на больших экранах (площадью 1—200 м 2 ) методами оптической проекции. П. т. применяют в телевизионном вещании, учебном и промышленном телевидении, в системах отображения информации (в частности, в центрах управления космическими полётами) и т.д. В системах П. т. используют главным образом оптическое увеличение изображения, модуляцию светового потока мощного источника света и лазерный эффект.

  Исторически первым и одним из наиболее распространённых методов П. т. является метод оптического увеличения ярких телевизионных изображений путём их переноса с экрана проекционного кинескопа на большой экран при помощи зеркально-линзового (рис. 1 ) или, реже, линзового проекционного объектива. Современные (1975) проекционные кинескопы обеспечивают высокую яркость черно-белого изображения — до 3×104 нт , а светосильные проекционные объективы способны направлять на экран до 30% светового потока, излучаемого кинескопом. Для воспроизведения на большом экране цветных телевизионных изображений используют 3 проекционных кинескопа с экранами из люминофоров красного, синего и зелёного цветов свечения и 3 проекционных объектива. В начале 70-х гг. 20 в. появились также устройства с одним кинескопом, имеющим полосчатый экран из люминофоров разных цветов свечения. Изображения, получаемые оптическим увеличением, обладают сравнительно низкими яркостью (£ 15 нт ) и контрастностью (£ 1: 20), что обусловлено ограниченностью светоотдачи люминофора и рассеянием света в стекле экрана кинескопа.

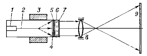
  В значительной мере свободны от этих недостатков системы П. т., основанные на модуляции света (светоклапанные системы). Они применяются при передаче как черно-белых, так и цветных изображений. В проекционных устройствах этих систем П. т. (рис. 2 ) в качестве источников света обычно используют мощные ксеноновые лампы, позволяющие получать световые потоки до 7000 лм.

Источник света равномерно освещает поверхность модулятора, различные участки которого (световые клапаны) под действием телевизионного сигнала приобретают разную прозрачность. Проходя через модулятор (или отражаясь от него так, как это происходит в эпидиаскопе ), световой поток получает информацию о яркости всех участков телевизионного изображения. Промодулированный световой поток направляется проекционным объективом на экран. Из известных модуляторов света в устройствах П. т. применяют главным образом модуляторы с деформируемой светомодулирующей средой (например, модулятор в виде слоя прозрачного вязкого масла, поверхность которого деформируется под воздействием электронного луча, управляемого телевизионным сигналом). Светоклапанные системы позволяют получать изображения с линейными размерами до 10 м.

Ведутся разработки систем П. т., в которых изображение проецируется не с кинескопа, а с многоэлементного растрового экрана (см. Растровые оптические системы ).

Разработка проекционных устройств с применением лазеров ведётся в двух направлениях. Одно из них основано на использовании лазеров с непрерывным излучением, генерирующих узкий луч высокой яркости. Промодулировав этот луч телевизионным сигналом по интенсивности, можно затем с помощью вращающихся зеркал развернуть его (см. Развёртка оптическая ) по экрану, на котором будет поэлементно воспроизводиться телевизионное изображение. Др. направление основано на использовании полупроводниковых лазеров с электроннолучевым возбуждением. В этом случае создаётся т. н. лазерный кинескоп — электроннолучевая трубка, основной элемент которой — полупроводниковая монокристаллическая лазерная мишень (рис. 3 ). Источниками света — полупроводниковыми лазерами — поочерёдно служат малые участки мишени, «обегаемые» тонким, сфокусированным до толщины 10—20 мкм электронным лучом. Модулируя электронный луч по интенсивности и осуществляя развертку телевизионного изображения по всей площади мишени, можно, вследствие высокой яркости лазерной мишени, получить на большом экране (с линейными размерами в десятки м ) яркое телевизионное изображение. Проекционные лазерные устройства в середине 70-х гг. серийно ещё не выпускаются.

  Лит.: Бабенко В. С., Оптика телевизионных устройств, М. — Л., 1964; Бугров В. А., Основы кинотелевизионной техники, М., 1964; Техника систем индикации, пер. с англ., М., 1970.

  Д. Д. Судравский.

Рис. 1. Оптическая схема проекционного устройства с зеркально-линзовым объективом и кинескопом: 1 — сферическое зеркало; 2 — проекционный кинескоп; 3 — корректирущая линза; 4 — светорассеивающий экран.

Рис. 3. Схема телевизионного проекционного устройства на электроннолучевой трубке с полупроводниковой лазерной мишенью: 1 — электронная пушка; 2 — электронный луч; 3 — отклоняющая система; 4 — зеркало оптического резонатора лазера, полностью отражающее свет; 5 — монокристаллическая пленка полупроводника; 6 — прозрачная подложка из сапфира; 7 — зеркало оптического резонатора, частично пропускающее свет; 8 — проекционный объектив; 9 — светорассеивающий экран.

Рис. 2. Оптическая схема проекционного устройства с модулятором света: 1 — источник света; 2 — конденсор; 3 — модулятор; 4 — проекционный объектив; 5 — светорассеивающий экран.

Более 800 000 книг и аудиокниг! 📚

Получи 2 месяца Литрес Подписки в подарок и наслаждайся неограниченным чтением

ПОЛУЧИТЬ ПОДАРОК