Резец (инструмент)

Резе'ц, режущий инструмент, применяемый при обработке изделий на токарных, револьверных, расточных, карусельных, строгальных, долбёжных, зубострогальных и специальных станках. Р. представляет собой стержень, состоящий из головки с режущей частью и державки, которой Р. закрепляется на станке. По форме головки различают Р.: прямые, отогнутые, изогнутые, чашечные; по сечению державки — прямоугольные, квадратные, круглые. Конструктивно Р. могут выполняться с приваренной головкой или режущей пластинкой, с припаянной пластинкой, с направленной головкой, с головкой-вставкой, с механическим закреплением пластинки и т. д. По назначению (виду обработки) различают Р.: проходные, подрезные, отрезные и прорезные, расточные, резьбонарезные, радиусные, фасонные и др. (рис. 1). В зависимости от характера обработки Р. бывают черновые (обдирочные), чистовые, для тонкого точения, выглаживающие; по направлению подачи — правые и левые. Материал режущей части — инструментальные (в т. ч. быстрорежущие) стали, твёрдые сплавы, минералокерамические материалы, искусственные алмазы, эльбор и др. Форму передней поверхности Р. (см. Геометрия резца) выбирают в зависимости от материала его режущей части, обрабатываемого материала, способа получения обрабатываемой заготовки и характера обработки (см. табл.).

Формы передней поверхности резцов

  Геометрические параметры режущей части влияют на основные факторы процесса резания: трение между поверхностями Р. и заготовки, форму и направление схода стружки, деформацию поверхностного слоя, стойкость Р., силы резания, интенсивность и величину изнашивания Р., шероховатость обработанной поверхности и др.

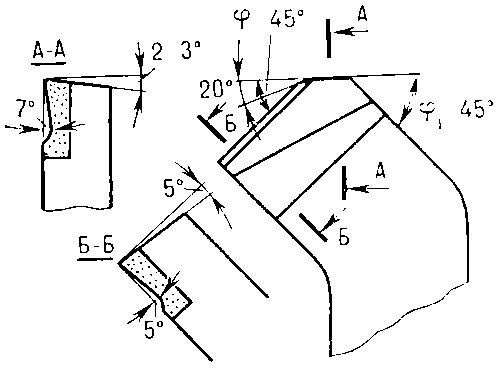
  В зависимости от конкретных условий обработки (обрабатываемого материала, режима резания, типа Р., жёсткости системы станок — приспособление — инструмент — деталь, характера обработки, способа получения обрабатываемой заготовки и др.) экспериментально найдены оптимальные параметры геомерии режущей части Р. (рис. 2—5): g = [(—10)—25]°; a = (6 + 12)°; j = (10 + 90)°; j1 = (0—20)°; l = [(—4)—15]°.

  При обработке изделий Р. с увеличенным радиусом при вершине r уменьшается шероховатость поверхности, но возрастают силы отжатия Р. от обрабатываемого изделия и увеличивается его прогиб, а также повышаются вибрации. Поэтому принимают r = 1 мм; для упрощения заточки твердосплавного Р. вместо закругления вершины делают переходную режущую кромку длина 1—2 мм с j0 = j/2. Для Р. с минералокерамическими пластинками рекомендуется: g = [(—5)—(—10)]°; a = (8—10)°; j = (75—90)° (для нежёстких деталей) и j = (10—30)° (для особо жёстких деталей).

  От свойств инструментального материала, конструкции Р. и геометрии их режущей части в значительной степени зависит эффективность процесса обработки металлов резанием — наиболее трудоёмкой части технологического процесса производства. Эта проблема тесно связана с обработкой новых труднообрабатываемых материалов, повышением требований к точности изготовления и качеству поверхностей, предварительной настройкой на размер и быстрой сменой инструмента без подналадки. Для обработки нержавеющих и жаропрочных сталей и сплавов Всесоюзным научно-исследовательским институтом твёрдых сплавов (ВНИИТС) разработаны особо мелкозернистые твёрдые сплавы ВК6-ОМ, ВК10-ОМ, ВК15-ОМ, для чистовой и получистовой скоростной обработки легированных, модифицированных и ковких чугунов — твёрдый сплав ТТ8К16, а для прерывистых работ с ударами — твёрдый сплав ТТ20К9. Находят применение многогранные неперетачиваемые твердосплавные пластинки с износостойким покрытием — карбидом титана, который наносится тонким слоем (до 5 мкм) методом осаждения из газовой фазы. Всесоюзным научно-исследовательским инструментальным институтом (ВНИИ) разработан ряд конструкций Р. с многогранными режущими вставками и стружколомающими канавками. Широко применяются Р. с механическим закреплением пластин, Р. со вставками из композиционных материалов, поликристаллических алмазов и т. п. См. также Металлорежущий инструмент, Дереворежущий инструмент.

  Лит.: Грановский Г. И., Металлорежущий инструмент. Конструкция и эксплуатация, 2 изд., М., 1954; Семенченко И. И., Матюшин В. М., Сахаров Г. Н., Проектирование металлорежущих инструментов, М., 1963; Режущий инструмент. Резцы, М., 1965; Резание конструкционных материалов, режущие инструменты и станки, под ред. В. А. Кривоухова, М., 1967; Аршинов В. А., Алексеев Г. А., Резание металлов и режущий инструмент, 2 изд., М., 1967; Пути совершенствования металлорежущего инструмента. Обзор, М., 1972; Бобров В. Ф., Иерусалимский Д. Е., Резание металлов самовращающимися резцами, М., 1972; Гладилин А. Н., Малевский Н. П., Справочник молодого инструментальщика по режущему инструменту, 3 изд., М., 1973; Резание конструкционных материалов, режущие инструменты и станки, 2 изд., М., 1974.

  Д. Л. Юдин.

Формы передней поверхности резцов: II — плоская с фаской. Область применения: резцы всех типов для обработки стали; f = 0,2—0,3 мм при чистовой обработке; f = 0,8—1,0 мм при черновой обработке, g =0° для резцов из быстрорежущей стали, g = (—5) — (—10)° — из твёрдого сплава.

Формы передней поверхности резцов: 1 — плоская без фаски; 2 — плоская с фаской; 3 — радиусная с фаской; 4 — плоская отрицательная; 5 — плоская с фаской и опущенной вершиной.

Формы передней поверхности резцов: V — плоская с фаской и опущенной вершиной. Область применения: черновое точение стали с крупной стружкой и подачами ≥ 1,5 мм/об; gj = (—10) — (—15)°.

Рис. 3. Резец конструкции ЦНИИТМаш с механическим закреплением пластинки: 1 — державка; 2 — подкладка; 3 — пластина; 4 — болт; 5 — шайба; 6 — прижим; 7 — передвижной упор.

Рис. 4. Резец с многогранной неперетачиваемой твердосплавной пластинкой: 1 — державка; 2 — пластинка; 3 — штифт; 4 — клин; 5 — винт.

Рис. 1. Токарные резцы: 1 — проходной прямой правый; 2 — проходной упорный правый; 3 — подрезной левый; 4 — подрезной; 5 — проходной отогнутый правый; 6 — отрезной; 7 — фасонный; 8 — подрезной правый; 9 — резьбовой (для наружной резьбы); 10 — расточный упорный (в борштанге); 11 — расточный (в борштанге); 12 — расточный; 13 — расточный для внутренней резьбы.

Рис. 5. Резец конструкции ВНИИ с твердосплавной пластинкой.

Рис. 2. Резец с зачищающей режущей кромкой: 1 — главная режущая кромка; 2 — переходная режущая кромка; 3 — зачищающая кромка.

Формы передней поверхности резцов: IV —  плоская отрицательная. Область применения: резцы с пластинками твёрдого сплава при черновом точении стали с временным сопротивлением σвр ≥ 1000 Мн/м2 (100 кгс/мм2 ),стального литья с коркой при точении с ударами.

Формы передней поверхности резцов: III — радиусная с фаской. Область применения: резцы всех типов для обработки стали; R = 3—18 мм — для быстрорежущей стали; R = 2—6 мм — для твёрдого сплава; f и gj — аналогичны форме II.

Более 800 000 книг и аудиокниг! 📚

Получи 2 месяца Литрес Подписки в подарок и наслаждайся неограниченным чтением

ПОЛУЧИТЬ ПОДАРОК