Реле

Реле' (франц. relais, от relayer — cmeнять, заменять), устройство, содержащее релейный элемент и предназначенное для осуществления скачкообразных изменений состояния какой-либо электрической цепи в результате заданных входных воздействий. Обычно число рабочих состояний управляемой цепи ограничено двумя или (реже) тремя. Часто название «Р.» применяют также по отношению к устройствам релейного действия, производящим изменение состояния пневматических, гидравлических или др. цепей, а иногда — к одному релейному элементу. Исторически название «Р.» было впервые применено к электромагнитным Р., которые использовались с целью усиления электрических телеграфных сигналов, ослабленных в длинных линиях передачи, до значений, достаточных для работы телеграфных аппаратов.

  Соответственно области техники, в которой Р. находят применение, различают телеграфные, телефонные, авиационные и др. типы Р. В соответствии с физической природой внешних явлений, вызывающих действие Р., их делят на электрические (с дальнейшим подразделением на Р. тока, напряжения, мощности, сопротивления, частоты и т. д.), механические (Р. перемещения, скорости, ускорения, давления, уровня и др.), тепловые, оптические, акустические, химические, магнитные и т.д. В зависимости от выполняемых ими функций различают Р. защиты, контроля, управления, сигнализации и др. В названии Р. часто указываются особенности его основных органов (электромагнитное, магнитоэлектрическое, электротермическое, контактное, бесконтактное, биметаллическое, соленоидное и т. п.) или конструкции Р. в целом (герметичное, негерметичное). Р. может управлять одновременно несколькими независимыми электрическими цепями. Исполнительными органами Р. долгое время были исключительно контакты. С 50-х гг. 20 в. в конструкциях Р. применяют магнитонасыщенные элементы (магнитные усилители) и полупроводниковые приборы (транзисторы, тиристоры), не требующие для управления электрическими цепями механических перемещений.

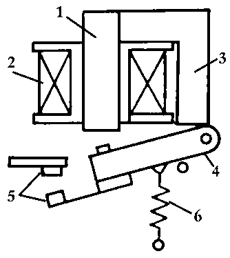
  В середине 70-х гг. самыми распространёнными остаются электромагнитные Р. Схема простейшего электромагнитного Р. показана на рис. Оно срабатывает в результате взаимодействия ферромагнитного якоря с магнитным полем обмотки, по которой идёт ток. При определённой величине тока в обмотке Р. якорь притягивается к сердечнику, производя переключение контактов в управляемой цепи.

  Особую группу Р. составляют реле времени, которые в релейных устройствах выполняют функции задержки времени при передаче внешних воздействий вне или внутри релейного устройства.

  Лит.: Сотеков Б. С., Основы расчёта. и проектирования электромеханических элементов автоматических и телемеханических устройств, М. — Л., 1965.

  И. Е. Декабрун, Б. И. Филипович.

Электромагнитное реле: 1 — сердечник; 2 — обмотка; 3 — ярмо; 4 — якорь; 5 — контакты; 6 — возвратная пружина.

Более 800 000 книг и аудиокниг! 📚

Получи 2 месяца Литрес Подписки в подарок и наслаждайся неограниченным чтением

ПОЛУЧИТЬ ПОДАРОК