Рекордер

Реко'рдер (англ. recorder, от record — записывать) устройство, преобразующее электрические сигналы в механические колебания резца, вырезающего канавку в носителе записи при механической записи звука (в частности, с целью изготовления граммофонных пластинок). Наиболее распространен динамический Р. Устройство динамического Р. для монофонической звукозаписи поясняется на рис. 1. Динамический Р. для стереофонической звукозаписи по сути представляет собой сдвоенный Р. для монофонической записи, в котором обе части подвижной системы сбалансированы посредством поперечной балки (рис. 2). Основные технические параметры Р. (1975): рабочий диапазон частот 50—30000 гц, номинальная мощность до нескольких десятков вт, коэффициент нелинейных искажений (при номинальной мощности) < 1%, переходное затухание между каналами (при стереофонической записи) &sup3; 35 дб.

  Лит.: Аполлонова Л.П., Шумова Н. Д., Механическая звукозапись, М. — Л., 1964.

  Ю. А. Вознесенский.

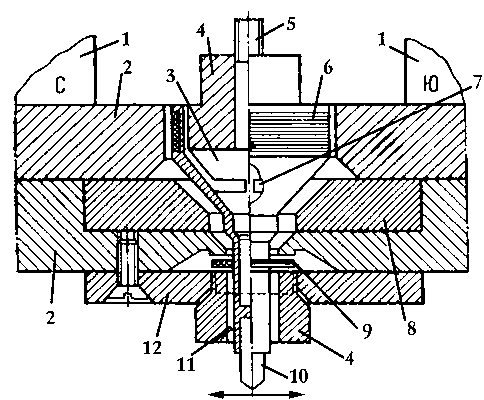
Рис. 1. Схема устройства динамического рекордера для поперечной монофонической записи: 1 — постоянный магнит; 2 — полюсные наконечники магнитной системы: 3 — соединительный конус с выфрезерованным в нём пазом 7 (плоская пружина подвижной системы рекордера); 4 — кольцо из магнитомягкого материала; 5 — стержень, на котором крепится рекордер; 6 — катушка возбуждения, на которую подается записываемый сигнал; 8 — медное кольцо — экран для ослабления индуктивной связи между катушкой 6 и катушкой 9 магнитоэлектрической обратной связи, корректирующей частотную характеристику подвижной системы рекордера; 10 — сапфировый резец; 11 — легкий каркас подвижной системы; 12 — опорное кольцо.

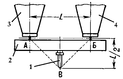
Рис. 2. Схема подвижной системы стереофонического рекордера: 1 — сапфировый резец; 2 — поперечная балка (при возбуждении правой части подвижной системы колебания резца происходят относительно точки А, а при возбуждении левой — относительно точки Б); 3 и 4 — левая и правая части подвижной системы, L — расстояние между ними; В — остриё резца.

Более 800 000 книг и аудиокниг! 📚

Получи 2 месяца Литрес Подписки в подарок и наслаждайся неограниченным чтением

ПОЛУЧИТЬ ПОДАРОК